恒电位法及恒电流法 
所谓的稳态,即电化学参量(电极电势,电流密度,电极界面状态等)变化甚微或基本不变的状态。 最常用的稳态测试方法,当然就是恒电位法及恒电流法,顾名思义,就是给电化学体系一个恒定不变的电流或者电极电势的条件。通常我们可以利用恒电位仪或者电化学工作站来实现这种条件。通过在电化学工作站简单地设置电流或电势以及时间这几个参数,就可以有效地使用这两种方法。 该方法的应用领域主要有:活性材料的电化学沉积以及金属稳态极化曲线的测定等等。 对于稳态,有三个方面要引起注意: 1、稳态不等同于平衡态,平衡态只是稳态的一个特例而已。稳态下电极反应仍然发生,有净电流通过,而平衡态则是没有净电流通过。 2、绝对不变的电极状态是不存在的,所以绝对的稳态是不存在的。 3、稳态和暂态是相对而言的,所以只要实验条件在一定时间内的变化不超过一定值的状态就称为稳态,反之,可以按照暂态处理。 恒电位法 恒电位法是采用恒电位仪控制电势,并外加手动或自动的电位扫描信号。根据电位变化可分为静电位和动电位两种。 静电位中电位的变化可以是逐点的,也可以是阶梯的,但都是达到稳定后再进入下一个电位,也即在一个电位下电流不随时间变化;而动电位中电位的变化是连续地以恒定的速度扫描(即稳态极化曲线)。
静电位的应用:恒电位测量 稳态极化曲线 稳态极化曲线是恒电位法的一种,控制电位随时间线性变化,且电位的变化足够慢,使得电极表面处于稳态。 稳态极化曲线是研究电极过程动力学中最基本也是最重要的方法之一。通过极化曲线可以判断电极反应的特征及控制步骤,测定电极反应的基本动力学参数,如交换电流密度、传递系数a和b等,也可以用来测定金属的腐蚀速度,判断电催化剂的催化性能。
不同扫速下金属的稳态极化曲线 恒电流法 恒电流法即控制工作电极的外电流为不同的电流密度值,分别测定工作电极于各个外侧电流密度下的电位稳定值。
恒电流法测量
控制电流阶跃法及控制电势阶跃法 
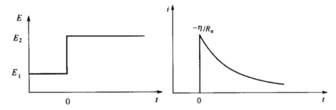
所谓的暂态,当然是相对于稳态而言的。在一个稳态向另一个稳态的转变过程中,任意一个电极还未达到稳态时,都处于暂态过程,如双电层充电过程,电化学反应过程以及扩散传质过程等。最常见的方法要数控制电流阶跃法以及控制电势阶跃法这两种。 控制电流阶跃法 控制电流阶跃法也叫计时电位法,即在某一时间点,电流发生突变,而在其他时间段,电流保持相应的恒定状态。
计时电位法电流阶跃(左图)及相应的电势变化(右图) 控制电势阶跃法 同理,控制电势阶跃法也就是计时电流法,即在某一时间点,电势发生突变,而在其他时间段,电势保持相应的恒定状态。
计时电流法电势阶跃(左图)及相应的电流变化(右图)
利用这种暂态的控制方法,一般可以探究一些电化学变化过程的性质,如能源存储设备充电过程的快慢,界面的吸附或扩散作用的判断等。计时电流法还可以用以探究电致变色材料变色性能的优劣。
线性伏安法及循环伏安法 
伏安法应该算是电化学测试中最为常用的方法,因为电流、电压均保持动态的过程,才是最常见的电化学反应过程。 一般而言,伏安法主要有线性伏安法以及循环伏安法,两者的区别在于:线性伏安法“有去无回”,而循环伏安法“从哪里出发就回哪去”。 线性伏安法 线性伏安法即在一定的电压变化速率下,观察电流相应的响应状态。 线性伏安法使用的领域较广,主要包括太阳能电池光电性能的测试,燃料电池等氧还原曲线的测试以及电催化中催化曲线的测试等。
线性伏安测试太阳能电池的开路电压及短路电流 循环伏安法 循环伏安法通常采用三电极系统(点击了解三电极体系)。外加电压在工作电极与辅助电极之间,反应电流通过工作电极与辅助电极,电压的变化是循环的,从起点到终点再回到起点,故称为循环伏安法。 循环伏安法能迅速提供电活性物质电极反应的可逆性,化学反应历程,电活性物质的吸附等许多信息。循环伏安法可用于研究化合物电极过程的机理、双电层、吸附现象和电极反应动力学,探究超级电容器的储能大小及电容行为、材料的氧化还原特性等等。
循环伏安法测试电容行为较强的碳材料(左图)含有氧化还原行为的电极材料的循环伏安测试(右图)
电化学阻抗谱及交流伏安法 
交流阻抗法的主要实现方法是用小幅度交流信号扰动电解池,并观察体系在稳态时对扰动的跟随的情况,同时测量电极的交流阻抗,进而计算电极的电化学参数。 由于电极过程可以用电阻 R 和电容 C 组成的电化学等效电路来表示,因此交流阻抗技术实质上是研究 RC 电路在交流电作用下的特点和规律。交流阻抗法包括两类技术,电化学阻抗谱(EIS)和交流伏安法。 交流伏安法 交流伏安法是在某一特定频率下,研究交流电流的振幅和相位随时间的变化。 电化学阻抗谱(EIS) EIS 探究的是某一极化状态下,不同频率下的电化学阻抗性能。由于采用小幅度的正弦电势信号对系统进行微扰,电极上交替出现阳极和阴极过程,二者作用相反,因此,即使扰动信号长时间作用于电极,也不会导致极化现象的积累性发展和电极表面状态的积累性变化,因此EIS是一种“准稳态方法”。 通过 EIS 我们一般可以分析出一些表面吸附作用以及离子扩散作用的贡献分配,电化学系统的阻抗大小、频谱特性以及电荷电子传输的能力强弱等等。 EIS中Nyquist图谱
本文源自微信公众号:中科蓝海ZKBO
原文标题:《电化学测试(二)几种常用的测试方法》
原文链接:https://mp.weixin.qq.com/s/_xwJycLBVJv5DuVZ5IajWA

